-
PLUS
Duell: Samsung Galaxy A17 mot Motorola Moto G56
-
PLUS
Krönika: Snabb mobil oavsett prestanda
-
PLUS
Intervju: Oppos Nordenchef om inträdet på svenska marknaden
-
PLUS
Krönika: Lanseringarna som skapar en lucka i tiden
-
PLUS
Nyheterna i Samsung One UI 8 på djupet
-
PLUS
Tips och tricks: 8 smarta knep för Huaweis smarta klockor
-
PLUS
Krönika: Billiga mobiler är inte dåliga
-
PLUS
Krönika: Ökande likriktning och mer av samma
-
PLUS
Apples lansering på djupet
-
PLUS
Prisvärda mobiler, Swedbank, problemlösning, Xiaomi 15 Ultra och mer – Mobil ger svar
Stor batterikapacitet
Hög batterikapacitet för Samsungs dubbelvikta

Samsung kommande dubbelvikta mobil kan få stor batterikapacitet tack vare tre batterier.
Annons
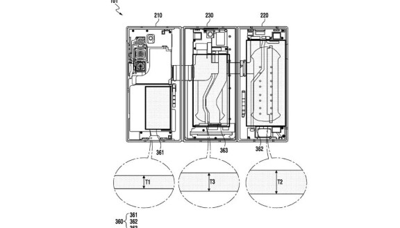
Ett upptäckt patent visar att Samsungs kommande dubbelvikta mobil – Galaxy Trifold - kan komma att använda tre separata battericeller för att få högre batteritid utan att göra telefonen tjockare. Patentdokument visar tre batteridelar kallade T1, T2 och T3 där T1 är liten och placerad under kameran, T2 är störst och sitter i mitten av huvudskärmen och T3 sitter i omslagsdisplayen. Tillsammans kan de ge över 5000 mAh kapacitet, vilket skulle göra telefonen kraftfull för multitasking och spel. Rykten säger att telefonen kan få en U-formad gångjärnskonstruktion, en titanram och upp till 16 gigabyte arbetsminne, och att Samsung kan lansera den i oktober tillsammans med sitt XR-headset.